
体育游戏app平台这是企业基于商场情况的贸易聘请-开云官网kaiyun切尔西赞助商 (中国)官方网站 登录入口
新闻资讯
“入理论孢价钱暴涨52倍!”体育游戏app平台 “原价30多元,当今最高一盒1600元!” …… 近日,抗菌药物头孢呋辛酯片(商品名:西力欣)加价的音书在外交平台激勉等闲筹办。3月19日上昼,彭湃新闻记者在某电商平台看到,部分药店0.25g*12片规格的单盒价钱最高已达2000元,还有药店表明“2026年6月落后”的教唆。该药在2025年底的加价景观曾领受到关怀,那时的电商价钱还在四五百元掌握。 西力欣在某电商平台的价钱截图 “西力欣”如何了? 西力欣是跨国药企GSK旗下抗菌药头孢呋辛酯片的商
详情

“入理论孢价钱暴涨52倍!”体育游戏app平台
“原价30多元,当今最高一盒1600元!”
……
近日,抗菌药物头孢呋辛酯片(商品名:西力欣)加价的音书在外交平台激勉等闲筹办。3月19日上昼,彭湃新闻记者在某电商平台看到,部分药店0.25g*12片规格的单盒价钱最高已达2000元,还有药店表明“2026年6月落后”的教唆。该药在2025年底的加价景观曾领受到关怀,那时的电商价钱还在四五百元掌握。

西力欣在某电商平台的价钱截图
“西力欣”如何了?
西力欣是跨国药企GSK旗下抗菌药头孢呋辛酯片的商品名,用于治疗多种细菌感染的广谱抗生素。国度药监局数据库显露,该药的批准文号灵验期放置日为2027年11月15日。米内网数据显露,2019年西力欣在中国(含城市公立病院、县级公立病院、城市药店、网上药店、城市社区、州里卫生院)的销售额达到近1.6亿元,2020年大跌75%,2025年前三季度还有4427万元的销售额。

“西力欣”中国商场销售额起首:米内网
早在2025年事首,一份来自GSK的说明函在商场上等闲流传,称西力欣片剂自2024年7月起不再供应中国商场。对此,GSK方面在3月19日晚间向彭湃新闻记者阐明了此事:字据GSK全球家具策略调度,GSK与国内配结伴伴休止贸易配合后,于2024年7月已呈文经销商不再向中国商场供应西力欣片剂,配合方可赓续销售休止公约前的库存至家具到期大约一起售完。
GSK方面示意,了解到公众对西力欣片剂商场供应情况的关怀。GSK严格按照中功令律律例条件进行处方药销售及束缚,并积极配合相关部门回复关系绝顶情况。“咱们冷落糜掷者在医疗保健专科东谈主士指挥下用药,并通过正规渠谈购药”。
值得一提的是,据亿腾医药2020年9月公布的港股招股书,自2008年起,该公司于中国独家扩充西力欣,包括针剂与片剂,其中片剂主要用于病院呼吸科、耳鼻喉科及儿科。2025年12月30日,亿腾医药与港股上市公司嘉和生物讲求完成并吞。2026年2月6日,嘉和生物晓谕公司称号改造为亿腾嘉和。该公司在2025年12月发布的招股书提到,原研头孢呋辛家具西力欣的关系独家营销及分销公约于2023年12月届满后住手销售,原因是商场竞争加重。
中国药科大学海外医药商学院说明路云认为,头孢呋辛酯的仿制厂家好多,好多病院也反馈仿制药疗效可以。原研药无法按照原来的高价在病院获取更多的商场,又不肯意降价和仿制药同台竞争,退市是企业策略,属于普通的贸易活动。
一位国内医药行业东谈主士指出,近几年,国内医药商场变化快,跨国药企在华业务要点基本齐转向了高值的新药,一些过往的老药、普药,要么将商场权力障碍出去,要么径直退出中国商场,这是企业基于商场情况的贸易聘请。站在消用度药端,由于部分外资品牌原研药有较高的瓦解度,患者我方还有一定的用药惯性。靠近退市或供货弥留的音书,部分价钱不解锐的群体如实可能会因为用药霸道而聘请高价囤药。
医师提醒:无需囤货,处方药使用应遵医嘱
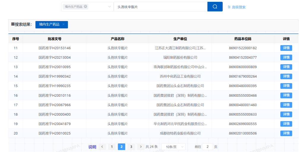
天然西力欣属于入口原研药,但早已过了专利期,商场曾经有不少仿制药。国度药监局数据库显露,头孢呋辛酯片共有24个批准文号,坐蓐单元包括联邦制药、国药致君、倍特药业等知名药企。

头孢呋辛酯片的批准文号起首:国度药监局数据库截图
头孢呋辛酯片在2018年就被纳入“4+7”城市药品集采,那时的中标企业是倍特药业,中标价钱为6.16元。到了2019年,在“4+7”集采及已跟进落实省份实施聚合采购效力的基础上,国度又组织关系地区变成定约,照章合规开展跨区域定约药品集采,这次定约集采的25个品种也包括头孢呋辛酯片,最终国药致君、白云山天心制药、京新药业三家企业中标,其中京新和国药致君为250mg*12片规格,中标价钱永别为4.28元、5.79元。
上海交通大学医学院从属第一东谈主民病院呼吸内科主任周新向彭湃新闻记者示意,西力欣是很老的口服头孢类抗菌药,同类口服药物在中国有好多,炒作其价钱扫数没必要。北京佑安病院感染科主任医师李侗曾也向记者示意,西力欣是原研药的商品名,其通用名是头孢呋辛酯片,目下国产有好多质优价廉的仿制药可以替代,在灵验性、安全性及反作用方面与原研药无彰着互异,不冷落囤货。
“治疗呼吸谈感染的抗菌药物有好多种,包括入口的和国家具,这些药品扫数可以称心临床需求的。”周新提醒,临床上圈套今还有一些入口的口服抗菌药,每家病院情况不太同样。抗菌药属于处方药,也需要患者在医师指挥下使用,而不是自行购买,凭嗅觉服用。
谁在炒高普药价钱?
访佛品牌药价钱被炒高的情况并非孤例。2025年,治疗甲状腺功能减退的左甲状腺素钠(商品名:雷替斯)曾经际遇价钱上升的情况,原价30元掌握被炒至上百元。
医疗策略磋议公司LatitudeHealth独创东谈主赵衡向记者示意,雷替斯天然是外资企业坐蓐,但并不是原研药,也会被炒作,这说明炒高药品价钱并不一定是围绕原研药,背后或有“黄牛”的兴风作浪,独揽环球对入口药或原研药的信任或追捧,囤积居奇,有益推高价钱。念念要治理炒药景观,主要如故要看监管层面的插手才能。
也有药企东谈主士抒发了访佛的念念法。他认为,头孢呋辛酯片仅仅普通的抗菌药,并不是神药,还有好多国产仿制药可以聘请。好多东谈主不知谈药物通用名和商品名的区别,很可能有东谈主独揽这极少来炒高某一款药物的价钱。念念要普及环球对国产仿制药的信任度,需要始终科普。
“监管部门对药品价钱犯警活动有法定的监管权,日常可通过价钱监测预警、数据穿透核查、舆情监测响应等理论主动发现并查处。”医法汇独创东谈概念勇讼师指出,药品价钱属于商场订价,但不就是无底线加价。目下短期供需失衡是诱因,但若是存在囤积居奇,勾搭加价,坏心哄抬药品价钱,则曾经触犯监管红线,监管部门可以依据价钱法,反操纵法等关系法律律例的礼貌,字据犯警情节进行相应的查处。
2022年6月,商场监管总局就曾出台《对于查处哄抬价钱犯警活动的指挥意见》(简称《意见》)。《意见》指出,各级商场监管部门要健全商场价钱绝顶波动救急机制,完善救急处置预案,强化监测预警,密切掌抓价钱动态,研判分析价钱走势,提高价钱绝顶波动的横暴性,增强监管的预判性、灵验性、针对性。
上述《意见》还明确,盘算者有鼓动大约可能鼓动商品价钱过快、过高上升活动之一的,商场监管部门可以认定组成《价钱犯警活动行政处罚礼貌》第六条第一项礼貌的哄抬价钱犯警活动,包括编造货源弥留大约商场需求激增信息并溜达的。
如何增强环球对仿制药的信任度?
靠近“可以聘请仿制药”的选项时,部分患者如故抒发了对国产仿制药的不信任。一位慢病患者告诉记者,他吃的药物原来每月需要自付1000元,前不久换成了国产的,月用度惟有80多元,天然目下吃下来没认为有什么不好的体验,但念念到中间的价差就如故会有担忧,“主要挂牵质地问题”。
上述行业东谈主士认为,对于那些“偏疼”入口药或原研药的群体,应当赐与尊重,笃信随同国产仿制药品牌的迟缓建立,会有越来越多的糜掷者刚硬到国产仿制药也有“价廉质优”的家具。
对于仿制药行业发展的窘境,上海创奇健康发展联系院联系副总监廖敏佳示意,从根源上来看,仿制药质地和药品短缺问题与药品监管、订价、支付政策息息关系。FDA曾在药物短缺发达中指出,现时仿制药质地和供应风险的主要原因包括零落弥散的财政激励机制来迷惑制造商坐蓐利润较低的药品,以及仿制药商场机制未能灵验识别和奖励高质地的坐蓐执行等问题。
那么,如何鼓动仿制药的高质地发展?廖敏佳冷落,可以将质地和价钱同期纳入订价和支付政策的磋议限制,将家具性量、制造才能、供应踏实性等多维办法纳入支付有盘算系统,开采企业优化坐蓐活动。在此基础上,冷落由药品监管部门和医保部门协同构建仿制药供应商概述评估体系,该体系笼罩制造商的质地束缚体系、原材料可追念性、坐蓐与供应踏实性、储备才能、商场价钱互异等办法。医保部门可字据该评估体系实施互异化经济激励,优先磋议具有高质地坐蓐才能和踏实供应纪录的制造商,从而在保险药品可及性的同期体育游戏app平台,杀青仿制药行业高质地可赓续发展。
- 上一篇:云开体育切尔西积40分升至第四-开云官网kaiyun切尔西赞助商 (中国)官方网站 登录入口
- 下一篇:没有了
新闻资讯
XINWENZIXUN
体育游戏app平台这是企业基于商场情况的贸易聘请-开云官网kaiyun切尔西赞助商 (中国)官方网站 登录入口
“入理论孢价钱暴涨52倍!”体育游戏app平台 “原价30多元,当今最高一盒1600元!” …… 近日,抗菌药物头孢呋辛酯片(商品名:西力欣)加价的音书在外交平台激勉等闲筹办。3月19日上昼,彭湃新闻记者在某电商平台看到,部分药店0.25g*12片规格的单盒价钱最高已达2000元,还有药店表明“2026年6月落后”的教唆。该药在2025年底的加价景观曾领受到关怀,那时的电商价钱还在四五百元掌握。 西力欣在某电商平台的价钱截图 “西力欣”如何了? 西力欣是跨国药企GSK旗下抗菌药头孢呋辛酯片的商
开云体育广东队果真处置了莫得小外助的问题-开云官网kaiyun切尔西赞助商 (中国)官方网站 登录入口
备受留意标CBA通例赛第二阶段第33轮比赛大战阻抑,近期对于传统劲旅广东男篮客场以112-94大比分打败了同曦队的比赛引起了球迷的善良。跟着广东队的新计策体系的酿成之后,杜锋在莫得的情况之下一经取得了一波九连胜,而且顺利高出辽宁队、北京首钢队等劲旅杀进了积分榜前五的位置。其中,广东队的锋卫奇兵张文逸很好地弥补了胡明轩不可打的空白,以致给了杜锋愈加熟识的威望成就。在徐杰、吉伦沃特、莫兰德、贝兹利等东谈主的匡助下,广东队也再度展现出了争冠级别的实力。 本体上,广东队本赛季莫得及格小外助的威望以及胡
体育游戏app平台这一场比赛古德温、贾明儒和原帅得分齐升迁20分-开云官网kaiyun切尔西赞助商 (中国)官方网站 登录入口
北京时分1月21日,CBA老例赛第33轮摈弃了通盘比赛,咱们沿途望望最新的积分榜变动! 广厦昨晚以94-91的比分险胜北京豪取10连胜,以29胜4负积62分稳居第一,这一场比赛广厦在环节球的处罚比北京作念得更好,让方硕发边线球造作,随后两次外线看护让方硕高难度入手未果。广厦也成为定约本赛季第3支完了10+连胜的球队,此前浙江稠州和上海完成。北京碰到一波3连败,名次仍是下滑第9名,过期第8名3个积分。 山西124-116有惊无险征服广州,以25胜7负积57分暂列第二名,这一场比赛古德温、贾明儒和
云开体育切尔西积40分升至第四-开云官网kaiyun切尔西赞助商 (中国)官方网站 登录入口
王人鲁晚报·王人鲁壹点 怀晓 1月21日19:35,CBA惯例赛第34轮,山东男篮镇守主场迎战宁波男篮。这是两边本赛季的二番战,亦然山东男篮春节前的主场收官战,靠近9连败的宁波,山东男篮力求双杀敌手,过个好年。 当天,英超第22轮一场比赛,切尔西镇守斯坦福桥以3:1治服狼队,驱逐5轮不堪。本轮事后,切尔西积40分升至第四,四连冠得主曼城以38分降至第五。 NBA方面,官方公布了第13周的周最好球员,火箭的杰伦·格林和雄鹿的字母哥鉴识当选。这是格林活命第二次当选周最好,亦然字母哥活命第25次当选
开云体育如今高圭臬农田修到家门口-开云官网kaiyun切尔西赞助商 (中国)官方网站 登录入口
春染沃野千重绿,耕启新程万象新。近日,省农业农村厅公示2025年度省级农业产业强镇拟批建名单,长沙县果园镇榜上知名。从“巴掌田”到“连片田”,从靠天吃饭的“老把式”到知天而作的“新农东谈主”,田汉故里的沃土上,一场繁荣昌盛的“科技春耕”,正书写着乡村振兴的天真答卷。 肥土良机 聪惠奏响“春耕曲” 早晨薄雾未散,杨泗庙社区的高圭臬农田庐,旋耕机的轰鸣划破静谧。10余位农户弯腰撒种,育秧盘整皆布阵如绿色诗行。种粮大户田义站在田埂上,望着田成方、路重迭、渠链接的沃野笑意盈怀:“昔时小块田进不了农机,
